Комплектная трансформаторная подстанция тупикового типа с кабельным или воздушным вводом - КТПм-ТК(В) (далее КТПм) наружной установки мощностью 100-400 кВА, напряжением 6/0,4-0,23кВ, предназначена для приема электроэнергии переменного трехфазного тока промышленной частоты напряжением 6-10кВ, трансформирования и распределения его напряжением 0,4-0,23кВ. КТПм может применяться для электроснабжения промышленных, сельскохозяйственных, коммунальных объектов.
КТПм предназначены для эксплуатации на открытом воздухе в условиях умеренного климата при предельных значениях температуры окружающей среды от -45 С до +40 С. КТПм ИМЕЮТ ПОРОШКОВОЕ ПОЛИМЕРНОЕ ПОКРЫТИЕ(ПОЛИЭФИРНОЕ), СТОЙКОЕ К УЛЬТРАФИОЛЕТОВЫМ ЛУЧАМ И ОСАДКАМ. Окружающая воздушная среда не должна содержать паров, пыли и газов в концентрациях, разрушающих металлы, изоляцию и покрытие подстанции.
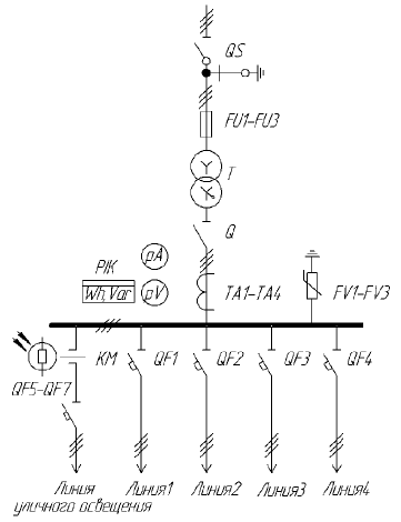
Габаритные размеры и электрическая схема КТПм-ТВ 630 (размеры указаны с коммутационным аппаратом)
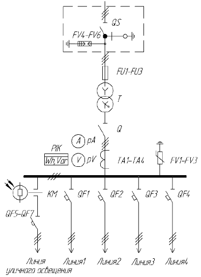
Габаритные размеры и электрическая схема КТПм-ТВ 25÷100 (размеры указаны без коммутационного аппарата)
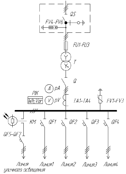
Габаритные размеры и электрическая схема КТПм-ТВ 160÷400 (размеры указаны без коммутационного аппарата)
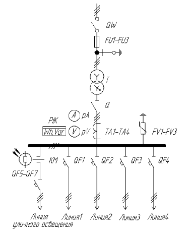
Общий вид и электрическая схема КТПм-ТК(В) 25÷400 кВА (размеры указаны с коммутационным аппаратом)
* высота в транспортном положении для КТП с воздушным вводом
Технические характеристики
| Наименование параметров | воздушный ввод | кабельный ввод | |||
|---|---|---|---|---|---|
| КТПм-ТВ 25÷100 | КТПм-ТВ 160÷400 | КТПм-ТВ 63÷400 | КТПм-ТК 25÷400 | КТПм-ТК 630 | |
| без коммутационного аппарата | с коммутационным аппаратом | ||||
| Мощность устанавливаемого силового трансформатора, кВА | 25÷100 | 160÷400 | 63÷400 | 25÷400 | 630 |
| Номинальное напряжение на стороне ВН, кВ | 6 ÷ 10 | ||||
| Номинальное напряжение на стороне НН, кВ | 0,4 ÷ 0,23 | ||||
| Ток термической стойкости на стороне ВН, кА | 16 | ||||
| Ток электродинамической стойкости на стороне ВН, кА | 41 | ||||
| Габаритные размеры, мм, не более | |||||
| длина | 1380 | 2220 | 3050 | 3050 | |
| ширина | 1280 | 1280 | 1280 | 1800 | |
| высота | 4500 | 2230 | |||
| Количество отходящих линий | 4 | ||||
Перечень элементов КТП-ТК(В)
| Позиция | Наименование | Мощность КТП, кВА | |||||||
|---|---|---|---|---|---|---|---|---|---|
| 25 | 40 | 63 | 100 | 160 | 250 | 400 | 630 | ||
| QS | Разъединитель РЛНДМ 10/400 (25-400 кВА) | 10 кВ, 400 А | |||||||
| QW | Выключатель нагрузки ВНАп-10/400 (только для 630 кВА) | ||||||||
| FU1-FU3 | Предохранитель ПКТ-10(6), А | 5 (8) | 8 (10) | 10 (16) | 16 (20) | 20 (31,5) | 31,5 (50) | 50 (80) | 80 (100) |
| pV | Вольтметр, В | 0-500 | |||||||
| pA | Амперметр, А | 40/5 | 75/5 | 100/5 | 200/5 | 300/5 | 400/5 | 600/5 | 1000/5 |
| TA1-TA4 | Трансформатор тока, А | 40/5 | 75/5 | 100/5 | 200/5 | 300/5 | 400/5 | 600/5 | 1000/5 |
| Q | Рубильник Iн, А | 250 | 250 | 250 | 250 | 250 | 400 | 630 | 1000 |
| QF1 | Автоматический выключатель ВА 04-36, А | 25 | 25 | 100 | 80 | 80 | 80 | 100 | 250 |
| QF2 | Автоматический выключатель ВА 04-36, А | 40 | 63 | 100 | 80 | 100 | 100 | 100 | 250 |
| QF3 | Автоматический выключатель ВА 04-36, А | - | - | - | 100 | 100 | 160 | 250 | 250 |
| QF4 | Автоматический выключатель ВА 04-36, А | - | - | - | 100 | 160 | 250 | 250 | 250 |
| QF5-QF7 | Автоматический выключатель ВА 47-29, А | 25 | |||||||
| PIK | Счетчик Меркурий 230ART-03C(R)N | 380 В, 5 А | |||||||
| KM | Магнитный пускатель ПМЛ-2160 | 220 В, 25 А | |||||||
| RV | Фотореле | ||||||||
| BL | Фоторезистор | ||||||||
| FV1-FV3 | Ограничитель перенапряжения ОПН-0,38 | 380 В | |||||||
| FV4-FV6 | Разрядник РВО-10(6) (только КТПм 25÷100 кВА и КТПм 160÷400 кВА) | 10(6) кВ | |||||||
| Iном | Ток на стороне НН, А | 36 | 58 | 91 | 145 | 230 | 360 | 580 | |
Отсек силового трансформатора допускает установку масляного трансформатора типа ТМ или ТМГ мощностью не более мощности подстанции и габаритными размерами не более:
| КТПм ТВ 25÷100кВА | 1180х750х1020 |
| КТПм ТВ 160÷400кВА | 1500х860х1540 |
| КТПм ТК(В) 63÷400кВА | 1350х860х1300 |
| КТПм ТК 630кВА | 1470х1060х1540 |
В комлект поставки КТП с воздушным вводом не входят разрядники РВО-10(6) и разъединитель РЛНДМ-10/400, данное оборудование комплектуется по заказу.